U202430009.

SE CAPTA ENERGIA FOTOVOLTAICA Y EOLICA PARA EXTRAER AGUA DE LOS POZOS Y/O PARA PROPORCIONAR ENERGIA A LAS DESALADORAS, A LOS SISTEMAS ELECTRONICOS Y DE COMUNICACION, A ELECTROVALVULAS, A LAS BOMBAS IMPULSORAS, A LOS SENSORES DE HUMEDAD, A LOS DRONES, A LAS CAMARAS DE VIDEOVIGILANCIA, A LAS CASAS DE EMPLEADOS, ETC, EL AGUA EXTRAIDA O DESALADA SE ACUMULA EN DEPOSITOS AEREOS O SUBTERRANEOS.

MEDIANTE ELECTROLIZADORES, LA ENERGIA FOTOVOLTAICA Y EOLICA PRODUCE HIDROGENO VERDE.

LA INSTALACION ELECTRICA Y DE HIDROGENO SE CONECTA A HIDROLINERAS Y ELECTROLINERAS.
U202430009 ES UNA INSTALACION HIDRICA QUE SE EXTIENDE POR LA GEOGRAFIA, PUDIENDO LLEGAR A DOS COSTAS DISTINTAS, CON POCA HUELLA DE CARBONO, ALIMENTADO ELECTRICAMENTE MEDIANTE PLACAS FOTOVOLTAICAS VENTILADAS,  AEROGENERADORES Y BATERIAS, INCLUYE UN RIEGO SOSTENIBLE QUE AHORRA AGUA Y EVITA LA EROSION CON CONDUCTOS, DEPOSITOS, BOMBAS IMPUSORAS, ETC, TODO ELLO AEREO O ENTERRADO, EL SISTEMA HIDRICO ESTA CONECTADO A DESALADORAS O A POZOS.
Ver sistemas de ventilacion.
AGUA PARA LA FAUNA SILVESTRE, EN ESPACIOS PROTEGIDOS O NO.
Estos productos son una Propiedad Industrial busquese en  INVENES U202200290 que es una evolucion de  ES 2128211

EL CONTENIDO DE ESTA WEB ESTA PROTEGIDA COMO DERECHOS DE AUTOR.

Estos tipos de riego por goteo o mangueras o cintas porosas evitan:

1 La obturacion del riego, son anti obturacion.

2  El atascamiento del riego, son anti atascamiento.

3 el taponamiento del riego, son anti taponamiento.
CONTACTO.
LOS PRODUCTOS PATENTADOS DE ESTA WEB ESTAN A LA VENTA.
SISTEMA DE LICENCIAS.
Productos patentados
U202200290.
U202300315
U202430009
U202432024
LAGUNAS NATURALIZADAS CON APORTE DE AGUA DESDE POZOS.
DEPOSITOS ENTERRADOS.
DEPOSITO DE AGUA.
DOBLE CONTADOR Y UNO DE ELLOS EN DOMINIO PUBLICO.
AGUA PARA FLORA Y FAUNA SILVESTRE, EN ESPACIOS PROTEGIDOS O NO.
EN PARQUES PUBLICOS, JARDINES, JARDINES BOTANICOS, PARQUES URBANOS, PARQUES MUNICIPALES, EN LA AGRICULTURA, CAMPOS DE GOLF Y EN EL RIEGO DE PRADOS, ESTEPAS Y BOSQUES, INTERESAN SISTEMAS DE RIEGO EFICIENTES, AVANZADOS, ANTI ROBO, ANTI HURTO Y ANTIVANDALICOS.
PLACAS FOTOVOLTAICAS SOBRE UNA PLATAFORMA TRANSITABLE.
PANEL FOTOVOLTAICO VENTILADO Y CON BATERIAS COMPONIENDO UNA T DE MODO QUE LA BATERIA QUEDA A LA SOMBRA DE LA PLACA FOTOVOLTAICA.
agrovoltaica.
PANELES FOTOVOLTAICOS  ELEVADOS EN PLATAFORMA TRANSITABLE, QUE PARA CAPTAR MAS LUZ, INCORPORAN ESPEJOS DOTADOS DE SEGUIMIENTO SOLAR.
agrivoltaica.
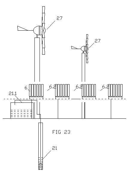
RIEGO EFICIENTE GEOGRAFICO ALIMENTADO CON AEROGENERADORES, ENERGIA FOTOVOLTAICA Y CON BATERIAS.
COMBINA PLACAS FOTOVOLTAICAS ELEVADAS SOBRE UNA PLATAFORMA DE MANTENIMIENTO ACCESIBLE Y CON UN RIEGO POR GOTEO SUBTERRANEO, CON CONTROL ELECTRONICO Y PROGRAMABLE,  SECTORIZADO CON ELECTROVALVULAS Y SEGUN DATOS DE SENSORES DE HUMEDAD EN EL TERRENO O A BORDO DE DRONES SE REALIZA EL RIEGO.
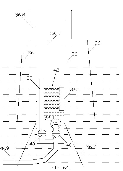
CONECTADOS A SISTEMA DE RIEGO, PUEDEN  TENER BATERIAS ADOSADAS, POZOS CON BOMBAS SUMERGIDAS, DEPOSITOS SUBTERANEOS O AEREOS Y/O DESALADORAS, EN SU CASO PARA AHORRA ENERGIA LAS DESALADORAS TIENEN LOS FILTROS BAJO EL NIVEL DEL MAR PARA APROVECHAR LA PRESION HIDRICA.
LAS DESALADORAS Y LAS PLACAS FOTOVOLTAICAS, COMO OPCION, ESTAN ROBOTIZADAS Y SE LIMPIAN SOLAS.
COMO OPCION PRODUCE HIDROGENO VERDE.
COMO OPCION LA INSTALACION SE VIGILA MEDIANTE CAMARAS DE VIDEO VIGILANCIA.
LA PLATAFORMA, PARA NO OSCURECER EL SUELO, ES TRANSPARENTE O SIEMI-TRANSPARENTE.
DEPOSITOS DE AGUA.
RIEGO EFICIENTE GEOGRAFICO SE VEN LOS AEROGENERADORES, EL RIEGO PUEDE LLEGAR A LAS COSTAS DE DOS VERTIENTES DISTINTAS.
VISTA EN PLANTA.
RIEGO EFICIENTE GEOGRAFICO SE VEN LOS PARQUES FOTOVOLTAICOS EL RIEGO PUEDE LLEGAR A LAS COSTAS DE DOS VERTIENTES DISTINTAS.
RIEGO GEOGRAFICO.
DEPOSITOS ENTERRADOS.
HUERTOS FOTOVOLTAICOS ELEVADOS SOBRE PLATAFORMAS TRANSITABLES.
DESALADORAS MARINAS SE APROVECHA LA PRESION HIDRICA PARA DESALAR.
EL RIEGO GEOGRAFICO UTILIZA ENERGIAS RENOVABLES PARA SU FUNCIONAMIENTO.
-AGRIVOLTAICA AL AIRE LIBRE CON PLATAFORMA TRANSITABLE.
-AGRIVOLTAICA BAJO CUBIERTA TRANSITABE.
-NATURAVOLTAICA.
-RIEGO GEOGRAFICO.
ENERGIA FOTOVOLTAICA.
EFI VENT.
Ver sistemas de riego.
CONTACTO.
U202432402.

U202300315.

U202430009.

U202100277.

U202432024.

U202430823.

U202431352.

U202200290.

U202300286.

SISTEMA DE LICENCIAS.
U202430009 II.